中国现役上将军衔名单2022年及其影响力概述,2022年中国现役上将军衔名单及其影响力概览
摘要:,,截至2022年,中国现役上将军衔名单包括多位资深将领,他们在中国军事领域具有广泛影响力。这些高级军官在国防建设、军队改革、军事训练等方面发挥着重要作用。他们的领导力和战略眼光,对于提升中国军队的战斗力和现代...
最新国际新闻摘抄2022,全球动态概览,全球动态概览,最新国际新闻摘要 2022
摘要:,,最新国际新闻显示,全球动态持续变化。在2022年,全球经济形势受到新冠疫情的持续影响,各国纷纷采取措施应对。国际政治局势也紧张多变,各国间的合作与竞争并存。科技创新持续引领全球发展,引领全球经济的数字化转型...
歼-20与俄罗斯的深厚支援,空中力量的国际携手,歼-20与俄罗斯的深厚支援,空中力量的国际联手
摘要:歼-20与俄罗斯在军事领域的合作日益紧密,展现出空中力量的国际携手。双方的合作不仅体现了技术层面的互补优势,更展现了共同应对全球性安全挑战的决心。这一合作不仅加强了空中力量的实力,也促进了国际军事合作的深化。...
刘伯温今晚一肖开奖结果——探寻神秘预言的背后,刘伯温神秘预言背后的真相,今晚一肖开奖结果揭晓
摘要:刘伯温作为古代著名的预言家,其预言备受关注。今晚一肖开奖结果引发了广泛关注。人们纷纷探寻这一神秘预言背后的含义和真相。关于刘伯温的预言,人们充满好奇和期待,期待能够揭开其中的秘密。也需要注意理性对待预言,不要盲...
半潜船船身质量,打造卓越海上运输的关键要素,半潜船船身质量,卓越海上运输的核心要素
摘要:半潜船船身质量是海上运输领域的关键要素之一,对于确保船舶安全、提高运输效率至关重要。其制造过程中注重材料选择、结构设计及工艺控制,旨在打造耐久、稳定、承载能力强的高质量船身。这不仅有助于提升船舶在恶劣海况下的运...
陆军装备局盛建忠,引领军事装备现代化,铸就国防坚实基石,盛建忠引领军事装备现代化,铸就国防坚实基石,陆军装备发展迎来新篇章
陆军装备局盛建忠致力于军事装备的现代化进程,凭借其卓越的领导力和专业知识,推动国防装备技术的创新与发展。他带领团队成员,不断研究先进军事技术,优化军事装备结构,提高装备性能,为国防建设贡献力量。盛建忠的努力,铸就了国...
香港王中王七肖一码,揭秘背后的神秘与真相,香港王中王七肖一码揭秘,神秘背后的真相探索
摘要:香港王中王七肖一码是一个备受关注的话题,背后隐藏着神秘与真相。这一码被认为是预测生肖运势的精准方法,吸引了众多人的关注。本文将揭示其背后的真相,探讨其神秘面纱下的真相,帮助读者了解这一话题的真实情况。...
当代杨根思连部队的所在地及其精神传承,杨根思连部队所在地与精神传承的当代见证
摘要:当代杨根思连部队位于某军事基地,继承并发扬着英雄连队的光荣传统和英勇精神。该部队以杨根思等英雄人物为榜样,注重培养官兵的战斗意志和团队精神,强调忠诚担当、英勇顽强、无私奉献的核心价值观。通过一系列训练、活动和措...
王中王最准一肖论坛,探索预测的智慧与社区力量,王中王最准一肖论坛,预测智慧与社区力量的交汇
王中王最准一肖论坛是一个集结预测智慧与社区力量的平台。用户可以共同探讨、分享预测技巧,借助集体的智慧挖掘出最准确的预测结果。论坛强调社区的力量,集结众多爱好者的观点与经验,共同探索预测的未来趋势。这是一个集结了智慧与...
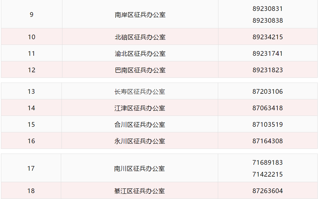
国防部征兵办公室与相对成绩查询,公开透明,高效便捷的服务新篇章,国防部征兵办公室开启公开透明、高效便捷的征兵服务与相对成绩查询新篇章
国防部征兵办公室启用了全新的服务方式,实现了征兵与成绩查询的紧密结合。新的服务篇章注重公开透明,高效便捷,旨在为广大民众提供更加顺畅、透明的征兵与成绩查询体验。通过优化流程,减少不必要的环节,确保信息的实时更新与准确...














京ICP备2020040949号-2
京ICP备2020040949号-2